V.PS:德国VPS-CN2优化线路-法兰克福机房

易云主机测评 | 国外VPS | | 阅读:175

V.PS(vps-hosting)是一家拥有十余年运营历史的资深云服务提供商,自2012年成立以来,已在欧洲、美洲及亚洲多地部署了稳定的数据中心网络。其主营业务以VPS云服务器为主,凭借扎实的网络基础设施和多样化的节点选择,在业内积累了不错的口碑。本文将针对其位于德国法兰克福的VPS机房进行深度测评,重点考察其对中国大陆地区的访问友好度,为有德国节点需求的用户提供选购参考。

V.PS在德国境内设有两个数据中心节点,分别位于杜塞尔多夫(Düsseldorf)和法兰克福(Frankfurt)。本次测评对象为法兰克福机房——该城市作为欧洲重要的互联网交换枢纽(DE-CIX所在地),网络地位举足轻重。基础配置包含2核CPU、1GB内存、20GB SSD高速存储及每月1TB流量,月付价格5.95欧元(约合人民币46元)。付款方式目前支持国际通用的PayPal和信用卡,暂不支持国内支付宝或微信,对部分国内用户可能存在一定门槛。

V.PS:德国VPS-CN2优化线路-法兰克福机房

首先进行本地网络环境下的Ping延迟测试,以评估基础连接质量:

V.PS德国VPS测评 - 本地Ping延迟效果

测试结果显示,本地Ping平均延迟约为161毫秒。对于地理位置遥远的德国机房而言,这一延迟表现相当优秀,且测试过程中网络抖动控制良好,未观察到丢包现象,初步稳定性令人满意。

进一步扩大测试范围,查看中国大陆三大运营商的平均延迟表现:

V.PS德国VPS测评 - 全国三网Ping延迟效果

全国三网综合平均延迟为176毫秒。细分来看,中国电信网络延迟约170毫秒,表现优异;中国联通网络延迟约178毫秒,与电信接近;中国移动网络延迟约267毫秒,相对较高。这种差异主要源于各运营商的国际出口路由策略不同。

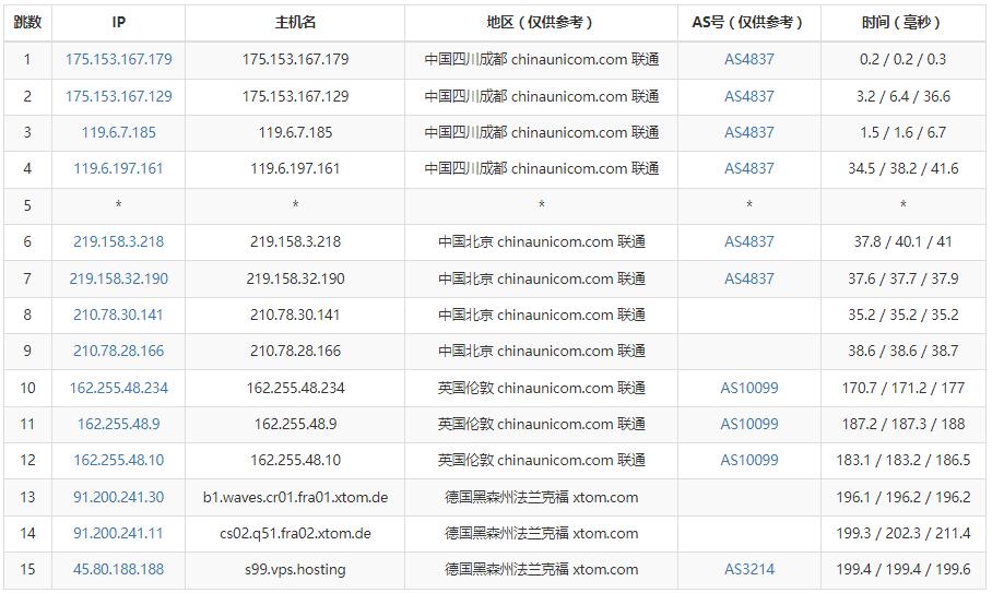
深入分析网络架构,我们追踪了三网用户访问该服务器的去程路由路径。

中国电信去程路由分析:

V.PS德国VPS测评 - 电信去程路由

令人惊喜的是,电信用户数据从北京国际出口网关出发,直接跨欧亚大陆桥通往德国法兰克福机房,全程走电信59.43段CN2 GIA精品优化线路。CN2 GIA是电信最高级别的国际出口线路,通常用于优化美国、香港等热门方向,能用于德国方向实属难得,这解释了为何电信延迟能低至170ms且稳定性极佳。

中国联通去程路由分析:

V.PS德国VPS测评 - 联通去程路由

联通用户流量从北京网络出口接入,经英国伦敦节点中转后飞往法兰克福。这是标准的欧亚路由路径,延迟控制在180ms以内,表现符合预期。

中国移动去程路由分析:

V.PS德国VPS测评 - 移动去程路由

移动用户数据从北京出发后,却需绕行美国西雅图节点,再跨大西洋抵达法兰克福。这种"绕地球半圈"的路由策略是导致移动网络延迟高达267ms的主要原因,且可能伴随一定的不稳定性。

为模拟真实使用场景,我们测试了本地下载文件的实际速度:

V.PS德国VPS测评 - 本地下速度

使用常规下载工具进行单线程测试,平均下载速度稳定在5.8MB/秒左右。考虑到跨国网络传输的损耗,这一速度对于德国VPS而言已属上乘表现,能够流畅支持高清视频播放、大文件传输及日常数据同步等需求。

V.PS德国VPS的定价体系如下表所示,用户可根据业务规模灵活选择:

参数项 套餐1 套餐2 套餐3 套餐4
内存 1GB 2GB 4GB 8GB
CPU核数 2 2 4 8
存储空间 20G 30G 40G 80G
流量 1T 1T 1T 1T
价格 5.95欧元/月 7.95欧元/月 9.95欧元/月 19.95欧元/月
购买链接 立即购买 立即购买 立即购买 立即购买

上表所列为基础配置,所有套餐均支持额外购买流量包以应对突发需求。需注意的是,V.PS目前仅支持PayPal和国际信用卡付款,未接入支付宝或微信支付,国内用户可能需要准备相应的支付工具。此外,系统镜像方面仅提供各主流Linux发行版(如CentOS、Ubuntu、Debian),暂不支持Windows操作系统,有Windows环境需求的用户需特别注意。

购买时,在机房选择页面勾选"Frankfurt"(法兰克福)节点即可:

V.PS德国VPS购买教程

综合以上各项测试结果,V.PS这款德国法兰克福VPS在网络层面表现可圈可点:电信CN2 GIA直连带来超低延迟(170ms)和极佳稳定性,联通路由标准高效,虽移动网络因绕行美国表现稍逊,但整体仍能满足大部分业务需求。加之5.95欧元/月的入门定价在欧洲VPS市场中具有竞争力,对于需要德国IP进行跨境电商、欧洲业务部署或数据合规存储的用户而言,是一个值得认真考虑的优质选择。

「真诚评论,手留余香」
查看评论

评论区

还没有评论,点击 添加评论 抢沙发
Copyright © 易云主机测评 保留所有权利.  皖ICP备2022015851号-3