UFOVPS:日本VPS测评-优化线路三网直连-网络稳定但带宽较小

易云主机测评 | 国外VPS | | 阅读:224

UFOVPS这家云服务商从2015年开始运营,算起来已经有不少年头了。他们主打的是香港、美国还有日本这几个地区的VPS云主机业务,线路质量挺不错,接入了CN2直连网络,运行起来挺稳定的,价格也比较亲民,挺适合那些预算有限但又想要稳定网络的朋友。这次咱们专门来测试一下UFOVPS的日本节点,看看实际用起来网速如何。

UFOVPS的日本机房设在东京,带宽给的是5到10Mbps。线路方面挺有优势的,电信走的是CN2优化线路,联通用的是AS9929优质线路。最基础的配置是2核处理器、1GB运行内存、20GB硬盘空间、5Mbps带宽,流量不限,还配一个独立IP,月付价格是58元。他们现在有个充值返现的活动挺划算的:充300送150,充500送350,充1000送1000,充3000送3000,充5000送5000,算下来相当于打五折了。如果你是打算长期用的,建议先充值再买,这样能省不少钱。付款方式支持支付宝、微信和PayPal,而且支持不满意退款,这点挺良心的。

UFOVPS:日本VPS测评-优化线路三网直连-网络稳定但带宽小

下面咱们就从延迟表现、连接稳定性、路由走向这几个维度来全面测试一下UFOVPS的日本VPS,看看实际体验到底怎么样。

先来看一下我本地Ping测试的结果:

UFOVPS日本VPS网络测试-本地Ping平均延迟

我这边测试下来平均延迟在81毫秒左右,网络连接相当稳定,基本上看不到丢包的情况,表现挺让人满意的。

再来看看全国各地三大运营商的延迟数据:

UFOVPS日本VPS网络测试-全国三网Ping平均延迟

全国电信、联通、移动三网平均延迟在69毫秒。细分来看,电信网络延迟约89毫秒,联通网络表现最好只有53毫秒,移动网络在62毫秒左右,港澳台和东南亚地区的延迟更低,只有44毫秒。总体来说三个运营商的延迟都控制得不错,访问速度挺快的。

再来看一下全球范围内的网络稳定性表现:

UFOVPS日本VPS网络测试-稳定性

这次测试覆盖了全球将近100个节点,既有国内城市也有海外地区。从测试结果来看,无论是国内还是国外的节点,网络稳定性都相当不错,基本上没有出现丢包现象,连接质量很有保障。

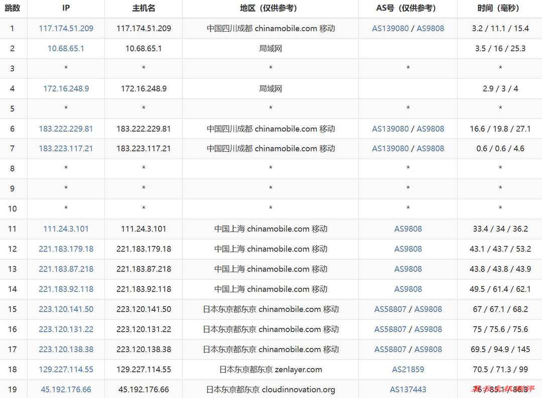
接下来咱们详细看看电信、联通、移动三个运营商的去程路由情况。

电信线路的去程路由:

UFOVPS日本VPS网络测试-电信去程路由

电信的线路是从上海出口出去,经过香港节点中转后到达东京机房,全程走的是CN2优化线路,质量有保障。

联通线路的去程路由:

UFOVPS日本VPS网络测试-联通去程路由

联通的线路是从上海网口直接连到东京机房,走的是AS9929优质线路,这条线路的口碑一直不错。

移动线路的去程路由:

UFOVPS日本VPS网络测试-移动去程路由

移动的线路同样是从上海出口,然后直连东京机房,走的是CMI骨干网,这也是移动的国际优质线路。

综合来看,UFOVPS这款日本VPS的网络质量确实挺不错的,不管是延迟表现还是连接稳定性都很给力,用来建站或者做其他业务都挺合适的。

下面是UFOVPS日本VPS的具体套餐配置,我用表格给大家整理出来了:

参数项 套餐1 套餐2 套餐3 套餐4
内存 1GB 1GB 2GB 3GB
CPU核数 2 2 2 4
存储空间 20GB 30GB 50GB 80GB
带宽 5Mbps 5Mbps 6Mbps 6Mbps
流量 无限 无限 无限 无限
价格 58元/月 68元/月 98元/月 198元/月
购买链接 立即购买 立即购买 立即购买 立即购买

上面列的是原价,如果参与前面说的充值活动,实际到手价能便宜不少。不过需要注意的是,UFOVPS的日本VPS带宽不算大,如果你有大文件高速下载的需求,可能要考虑其他更高配置的套餐或者其他服务商。

UFOVPS日本VPS最新优惠链接

UFOVPS最新优惠链接

想要购买的朋友可以通过UFOVPS优惠链接进入官网首页,然后在导航栏找到【日本云服务器】这个选项:

UFOVPS日本VPS购买教程-首页入口

进入套餐页面后能看到好几个不同配置的方案,根据自己的实际需求选个合适的,点击【购买】按钮就行了:

UFOVPS日本VPS购买教程-套餐选择

后面跟着页面提示一步步操作,完成付款就搞定了,整个过程挺简单的。

总结

关于UFOVPS日本VPS的测评就到这儿了。咱们从网络质量、价格配置、购买流程这几个方面做了详细介绍。总的来说这款日本VPS的网络表现还是挺靠谱的,有CN2和AS9929双优化线路加持,延迟控制得很好,访问速度也挺快。有日本VPS需求的朋友可以按照上面的图文教程去购买,支持支付宝和微信付款,国内用户购买起来很方便。

「真诚评论,手留余香」
查看评论

评论区

还没有评论,点击 添加评论 抢沙发
Copyright © 易云主机测评 保留所有权利.  皖ICP备2022015851号-3