hostEONS:美国服务器测评-带宽大-速度快

易云主机测评 | 独立服务器 | | 阅读:335

hostEONS是家海外主机商,做虚拟主机、VPS和独立服务器,主打欧美机房,价格挺实惠。这次来实测下他家的美国服务器,看看网络表现如何。

这次测的是hostEONS的VDS型美国服务器,有洛杉矶、达拉斯、盐湖城多个节点可选,带宽10Gbps,用的是Ryzen 7950x处理器。最低配1核4G内存、50G硬盘、15TB流量,每月9美元,支持支付宝、PayPal、信用卡付款。

hostEONS:美国服务器测评-带宽大-速度快

下面从延迟、稳定性、路由线路几方面来测试hostEONS美国服务器,测的是洛杉矶机房的表现。

先瞅瞅本地Ping延迟表现:

hostEONS美国服务器网络测试-本地Ping平均延迟

本地Ping平均延迟200ms,网络还挺稳,基本没丢包。

再看看全国三网Ping延迟:

hostEONS美国服务器网络测试-全国三网Ping平均延迟

三网平均延迟194ms,电信179ms、联通196ms、移动208ms,港澳台及东南亚地区146ms。

接着测下全球各地网络稳定性:

hostEONS美国服务器网络测试-稳定性

海外节点网络稳定性还行,但国内节点稳定性不太理想,建议配合中转服务器使用。

下面看看三网去程路由情况。

电信去程路由:

hostEONS美国服务器网络测试-电信去程路由

电信路由从广州出口,经圣何塞节点到洛杉矶机房,走电信骨干网。

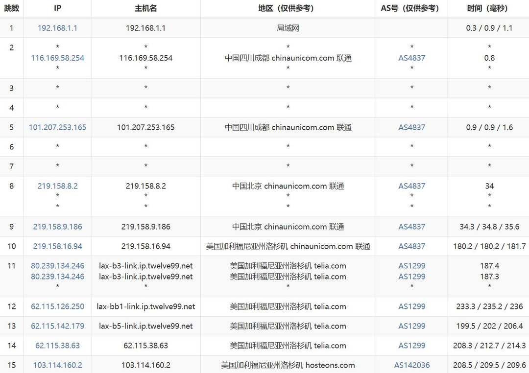
联通去程路由:

hostEONS美国服务器网络测试-联通去程路由

联通路由从北京出口,直连洛杉矶机房,走AS4837线路。

移动去程路由:

hostEONS美国服务器网络测试-移动去程路由

移动路由从上海出口,经圣何塞节点到洛杉矶机房,走CMI骨干网。

hostEONS美国服务器价格套餐如下:

参数项 套餐1 套餐2 套餐3 套餐4
内存 4GB 8GB 12GB 16GB
CPU核数 1 2 3 4
存储空间 50GB 100GB 150GB 200GB
带宽 10Gbps 10Gbps 10Gbps 10Gbps
流量 15TB 30TB 30TB 30TB
价格 9美元/月 18美元/月 27美元/月 36美元/月
购买链接 立即购买 立即购买 立即购买 立即购买

配置相当高,内存、带宽、流量都给力,价格却是VPS的价位,性价比挺不错。

hostEONS美国服务器最新优惠链接

hostEONS最新优惠链接

想买的用户通过hostEONS优惠链接进官网,点【VPS】菜单下的【US - Ryzen 7950x】:

hostEONS美国服务器购买教程-首页入口

进产品页面选适合的套餐,点【Order Now】:

hostEONS美国服务器购买教程-套餐选择

到配置页面可以加多个IP,选适合自己的节点,点【Continue】提交订单:

hostEONS美国服务器购买教程-配置选择

最后按提示注册账号付款就行。

总结

以上就是hostEONS美国服务器的测评,整体配置不错,网络也还行,尤其是海外节点很稳定。虽然这不是真正的独立服务器,但配置给力,适合想要高配但预算有限的美国VPS用户。

「真诚评论,手留余香」
查看评论

评论区

还没有评论,点击 添加评论 抢沙发
Copyright © 易云主机测评 保留所有权利.  皖ICP备2022015851号-3